WR zincirlerinde yalnızca tam sertleştirilmiş perçinler bulunur.
WH zincirlerinin tüm parçaları tamamen sertleştirilmiştir.
WHX zincirlerinde standart olarak tam sertleştirilmiş parçalar ve indüksiyonla sertleştirilmiş perçinler bulunur.
Perçinli yapı standarttır, pimli ve kamalı yapı ise sipariş üzerine temin edilebilir.
WRC zincirlerinde düz yan çubuk ve sertleştirilmiş perçinler bulunur.
WHC zincirlerinin yan çubukları düzdür ve tüm parçaları tamamen sertleştirilmiştir.

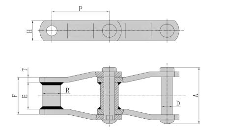
| Zincir No. | Saha | VE | T | H | D | A | R | F |
| mm | mm | mm | mm | mm | mm | mm | mm | |
| WR78 | 66.27 | 25.40 | 6.40 | 31.75 | 12.70 | 75.00 | 21.34 | 51.00 |
| WH78 | 66.27 | 25.40 | 6.40 | 31.75 | 12.70 | 75.00 | 21.34 | 51.00 |
| WR82 | 78.10 | 28.58 | 6.40 | 31.75 | 14.29 | 82.30 | 25.40 | 57.15 |
| WH82 | 78.10 | 28.58 | 6.40 | 31.75 | 14.29 | 82.30 | 25.40 | 57.15 |