WHX132D Wysokowytrzymały, żaroodporny łańcuch dwurzędowy do przenośników zbożowych
Łańcuch zgarniający SHINING WHX132D-PT825.5-HOT UHMW to najwyższej jakości, odporny na wysoką temperaturę, dwużyłowy, spawany łańcuch zgarniający do transportu zbóż i surowców spożywczych o bardzo dużej przepustowości. Łączy dwa łańcuchy WHX132 o wytrzymałości 800 kN UTS oraz łatwy w czyszczeniu zgarniacz UHMW o szerokości 825,5 mm, odporny na temperaturę do 140°C, zapewniając niezrównaną wytrzymałość i podwojoną przepustowość. Zaprojektowany do wymagających przenośników taśmowych i silosów, zapewnia niezawodny transport dużych objętości w wysokich temperaturach lub w surowych warunkach sanitarnych, a zgarniacz jest dopuszczony do kontaktu z żywnością. W przypadku produktów niestandardowych, minimalna ilość zamówienia wynosi 100 stóp.
Przegląd
TenLUSTRZANYŁańcuchy UHMW WHX132D-PT825.5-HOT to szczyt wydajności w linii produktów łańcuchów spawanych firmy SHINING, zaprojektowanych do najbardziej ekstremalnych zastosowań transportowych o dużej przepustowości, w których występują zarówno wysokie temperatury, jak iHigiena obchodzenia się z surowcami spożywczymi ma kluczowe znaczenie.Ten najwyższej jakości, wytrzymały, dwurzędowy spawany łańcuch przenośnikowy został zaprojektowany tak, aby zapewnić niezrównaną wytrzymałość,możliwość czyszczeniai przepustowość w przenośnikach zgrzebłowych do transportu ziarna na dużą skalę i systemach podawania do silosów. Dzięki integracji dwóch równoległych pasm wytrzymałego łańcucha WHX132, połączonych masywnym, odpornym na ścieranie zgarniaczem UHMW, zapewnia on dwukrotnie większą wydajność transportu, wyjątkową wytrzymałość na rozciąganie, doskonałą stabilność termiczną igładkie powierzchnie do skutecznego czyszczenia,maksymalizacja produktywności w najbardziej intensywnych warunkachzboże i surowiec spożywczyobiektów przeładunkowych.
Cechy
Podwójne pasmo, solidna konstrukcja:Jako część wysokowydajnych spawanych łańcuchów SHINING, charakteryzuje się solidną, precyzyjnie spawaną konstrukcją dwurzędową (D), zapewniającą doskonałą stabilność i rozkład obciążeń w najbardziej ekstremalnych warunkach pracy.
Podwojona wytrzymałość na rozciąganie:Wykorzystując dwa równoległe łańcuchy WHX132, zespół osiąga łączną wytrzymałość na rozciąganie (UTS) wynoszącą800 kNzapewniając ogromną wytrzymałość pozwalającą wytrzymać ekstremalne obciążenia występujące przy transporcie o dużej przepustowości na duże odległości.
Duża szerokość, odporny na ścieranie skrobak:Centralnym elementem projektu jestListwa skrobakowa o szerokości 825,5 mm i grubości UHMW (polietylen o ultra wysokiej masie cząsteczkowej), oferując wyjątkowo dużą powierzchnię styku, niskie tarcie i doskonałą odporność na zużycie, co pozwala na wydajniejsze przemieszczanie materiału przy jednoczesnym minimalizowaniu uszkodzeń produktu.
Higieniczna konstrukcja z kompatybilnym skrobakiem:Materiał skrobaka UHMW tozgodny z przepisami polimer nadający się do zastosowań w kontakcie z żywnością. Jego gładka, nieporowata powierzchnia zapobiega gromadzeniu się materiału i jestwyjątkowo łatwe do czyszczenia i dezynfekcji.Notatka:Elementy bocznej belki łańcucha, sworznia i tulei są wykonane ze stali stopowej o wysokiej wytrzymałości, co zapewnia trwałość i są zaprojektowane dotransport surowców spożywczychW przypadku zastosowań wymagających bezpośredniego kontaktu z żywnością wszystkich elementów metalowych, prosimy o kontakt z firmą SHINING w celu uzyskania informacji o konkretnych opcjach materiałowych.
Odporność na wysoką temperaturę (do 140°C):TenFormuła HOT UHMW została specjalnie opracowana tak, aby zachować stabilność wymiarową, właściwości mechaniczne i odporność na zużycie przy ciągłych temperaturach pracy do 140°CDzięki temu urządzenie doskonale nadaje się do transportu ziarna, które zatrzymuje ciepło resztkowe z procesów suszenia, lub do systemów wymagających częstej dezynfekcji w wysokiej temperaturze za pomocą gorącej wody lub pary.
Podwójna wydajność transportu:Połączenie siły napędu dwułańcuchowego i szerokiego skrobaka UHMW o szerokości 825,5 mm umożliwiaznacznie większa przepustowość materiału — efektywnie podwajając lub zwiększając przepustowość systemu jednonitkowego—znacznie zwiększając ogólną wydajność i efektywność systemu.
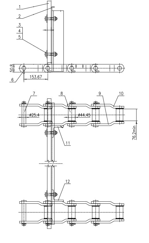
Wysoka wytrzymałość na rozciąganie i duży skok:Zaprojektowane z myślą o maksymalnej nośności, wyposażone wRozstaw 153,67 mm (6,05 cala)w każdym paśmie, co umożliwia stabilny transport materiału o dużej objętości.
Precyzyjnie zaprojektowane komponenty:Wykorzystuje obrobione cieplnie stalowe pręty boczne, sworznie i tuleje zapewniające maksymalną trwałość, odporność na uderzenia i dłuższą żywotność.
Zoptymalizowane pod kątem dużych obciążeń:Dwupasmowa konstrukcja zapewnia doskonałą stabilność i wyrównanie przy dużych i nierównomiernych obciążeniach, co zmniejsza zużycie i wymagania konserwacyjne.
Zgodność ze standardami branżowymi:Zaprojektowane w oparciu o sprawdzone komponenty WHX132, zapewniające niezawodną pracę i łatwość integracji z wymagającymi systemami transportu.
Główne zastosowania
Przenośniki zgrzebłowe do ziarna o bardzo dużej wydajności i systemy podawania do megasilosóww przetwórstwie i obsłudze zboża.
Transport podgrzanych mączek oleistychw procesie kondycjonowania/tłoczenia w produkcji olejów roślinnych (np. olej rzepakowy, olej z pestek palmowych).
Poziome i lekko nachylone główne linie transportowe w dużych terminalach eksportowych zboża, młynach paszowych i młynach mącznych.
Obsługa hurtowa dużych ilości surowców spożywczych, zbóż ściernych i nasion oleistych (takich jak pszenica, kukurydza, soja, jęczmień i rzepak).
Systemy transportujące materiały, którezatrzymywanie ciepła resztkowego po suszeniu (np. z suszarni zbożowych)lub te wymagające częstegocykle dezynfekcji w wysokiej temperaturze (czyszczenie gorącą wodą/parą).
Zastosowania, w których ograniczenia przestrzenne lub konstrukcja systemu wymagają pojedynczej linii przenośnikowej o dużej wydajności zastępującej wiele standardowych linii,szczególnie tam, gdzie ważne jest łatwe czyszczenie i integralność materiału.
Specyfikacje
Model:WHX132D-PT825.5-HOT UHMW
Typ łańcucha:Wytrzymały, dwurzędowy łańcuch przenośnika zgrzebłowego (łańcuch spawany)
Szereg:WHX (zaawansowana seria łańcuchów spawanych)
Załącznik/Styl:PT825.5 (zintegrowana płyta zgarniająca UHMW o szerokości 825,5 mm łącząca podwójne pasma)
Podziałka łańcucha:153,67 mm (na pasmo)
Wytrzymałość na rozciąganie (UTS):800 kN (łącznie, 2 x 400 kN)
Konfiguracja:Zespół dwużyłowy połączony centralną płytą zgarniającą UHMW o pełnej szerokości.
Połączenie:Solidna konstrukcja skręcana śrubami.
Materiał płyty skrobakowej:UHMW (polietylen o ultra wysokiej masie cząsteczkowej) opracowany z myślą o odporności na wysokie temperatury (ciągła praca w temperaturze do 140°C) i zgodności z wymaganiami dotyczącymi kontaktu z żywnością.
Materiał głównej struktury łańcucha:Stal stopowa o wysokiej wytrzymałości (stal węglowa).
Szerokość płyty skrobaka:825,5 mm
Zgodność:Zaprojektowane do integracji z systemami przenośników o dużej wytrzymałości i przepustowości.
Kluczowe specyfikacje komponentów (typowe dla serii Heavy-Duty):
Materiał paska bocznego:Wysokowytrzymała, poddana obróbce cieplnej stal stopowa.
Grubość paska bocznego:12,7 mm
Wysokość paska bocznego:50,8 mm
Szerokość wewnętrzna płytki łańcucha:76,2 mm (na żyłę)
Średnica i obróbka sworznia:25,4 mm, wykonane ze stali stopowej z zaawansowanym hartowaniem powierzchni.
Średnica i obróbka tulei:44,45 mm, wykonane ze stali stopowej do nawęglania.
Materiał płyty skrobakowej:Materiał UHMW, prasowany na gorąco lub obrabiany mechanicznie zgodnie ze specyfikacją, zapewniający optymalną odporność na zużycie i stabilność termiczną (do 140°C). Materiał UHMW jest zgodny z przepisami dotyczącymi stosowania w przetwórstwie żywności.
Elementy złączne:Wysokiej jakości śruby i nakrętki.
Główne różnice w stosunku do serii WHX132 z pojedynczym włóknem:
Poziom wydajności:WHX132D tonajlepsze rozwiązanie o dużej pojemnościw rodzinie łańcuchów spawanych WHX, zaprojektowanych do zastosowań, w których pojedyncze pasma nie są w stanie sprostać wymaganej przepustowości i obciążeniu,lub rygorystycznych wymagań środowiska operacyjnego.
Projekt i wydajność:Posiada konstrukcję dwupasmową, którapodwaja maksymalną wytrzymałość na rozciąganie do 800 kNi integruje wyjątkowo szeroki skrobak UHMW o szerokości 825,5 mm, umożliwiającyprzepustowość materiałów wielokrotnie większaniż standardowy łańcuch jednołańcuchowy.
Zakres zastosowania:Zoptymalizowane pod kątem najbardziej wymagających zastosowań w transporcie zboża o największej wydajności, takich jak główne linie przenośnikowe w dużych terminalach, gdzie maksymalizacja przepustowości na jednej linii przenośnika ma kluczowe znaczenie dla efektywności operacyjnej.
Wyższość ekologiczna:Specjalnie zaprojektowane do pracy w trudnych warunkach, w których panują wysokie temperatury (do 140°C) i gdzie ważna jest higiena.Dwupasmowa konstrukcja zapewnia zwiększoną stabilność, a łatwy do czyszczenia i odporny na wysoką temperaturę skrobak UHMW wspomaga operacje wprzetwórstwo surowców spożywczychzastosowań wymagających skutecznej higieny, zapewniając solidne rozwiązanie do zastosowań wymagających dużej wytrzymałości,transport wrażliwy na higienę.

Serwis i wsparcie
SHINING zapewnia pełne wsparcie inżynieryjne. Nasi eksperci pomogą Ci dobrać optymalne rozwiązanie łańcuchowe – od jednołańcuchowych serii WH/WHX po zaawansowane konfiguracje dwułańcuchowe, takie jak WHX132D – dla Twojej konkretnej instalacji o dużej wydajności.obsługa ziarna i surowcówsystem maksymalizujący wydajność i zwrot z inwestycji.W przypadku zastosowań wymagających spełnienia szczególnych wymagań dotyczących zgodności materiałów prosimy o kontakt.
Skontaktuj się z nami już dziś, aby uzyskać rozwiązania w zakresie przenośników taśmowych:
Chcesz omówić swoje potrzeby projektowe? Wyślij e-mail do naszego zespołu sprzedaży, podając swoje rysunki lub wymagania.sales@shiningco.com.









