La catena SHINING M630A250 è una catena di classe ingegneristica a passo metrico di alta qualità, progettata per le applicazioni più impegnative di movimentazione di materiali sfusi, specificamente studiata per i sistemi di trasporto a nastro per impieghi gravosi nelle miniere di carbone.
1. Panoramica della catena di classi di ingegneria
La catena SHINING M630A250 è una catena di classe ingegneristica a passo metrico di alta qualità, progettata per le applicazioni di movimentazione di materiali sfusi più impegnative, specificamente studiata per i sistemi di trasporto a nastro per l'industria mineraria del carbone. Parte della nostra serie di punta M, questa catena combina una costruzione robusta con materiali di qualità superiore per offrire resistenza eccezionale, resistenza agli urti e una maggiore durata in ambienti abrasivi e ad alta tensione. È prodotta in stretta conformità con gli standard DIN 8167 / ISO 1977 ed è dimensionalmente intercambiabile con i principali marchi internazionali, offrendo una soluzione affidabile ed economicamente vantaggiosa per le operazioni minerarie critiche.
2. Caratteristiche e vantaggi principali della catena di classi di ingegneria
- Resistenza e durata ineguagliabili:Realizzato con acciai legati ad alta resistenza e sottoposto a processi di trattamento termico avanzati, l'M630A250 raggiunge un carico di rottura minimo di630 kNgarantendo la massima affidabilità in presenza di carichi d'urto estremi e durante il funzionamento continuo.
- Ottimizzato per l'estrazione del carbone:Il design è specificamente studiato per resistere alla natura abrasiva del carbone e dei detriti associati, riducendo al minimo l'usura e i tempi di inattività per la manutenzione.
- Resistenza all'usura superiore:Componenti progettati con precisione, tra cui perni e boccole temprati, lavorano in sinergia per distribuire uniformemente le sollecitazioni, migliorando significativamente la resistenza all'usura rispetto alle catene standard.
- Comprovata esperienza OEM:Con oltre 20 anni di esperienza, le catene SHINING sono un punto di riferimento per i principali produttori OEM a livello globale. Il nostro prodotto è progettato per soddisfare o superare le specifiche prestazionali dei principali concorrenti, garantendo un'integrazione perfetta e prestazioni ottimali.
- Costruzione di tipo A (serie di boccole standard):Questa configurazione offre un equilibrio ideale tra elevata resistenza e funzionamento fluido, risultando adatta a una vasta gamma di modelli di nastri trasportatori nel settore minerario.
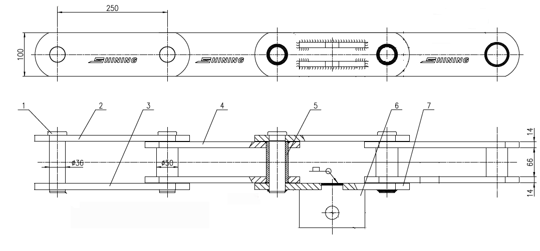
3. Specifiche tecniche della catena di classi ingegneristiche
Parametro | Specifica | Note |
Designazione della catena | M630A250 | Serie M, Tipo A, Passo 250 mm |
Passo (P) | 250 mm | - |
Diametro della boccola (D5) | 50 mm | - |
Diametro del perno (D6) | 36 mm | - |
Tra le barre laterali (L) | 66 mm | - |
Spessore della barra laterale (S) | 14 mm | - |
Altezza della barra laterale (H) | 100 mm | - |
Carico di rottura minimo | 630 kN (standard DIN) | - |
Standard | DIN 8167 / ISO 1977 | Dimensionalmente intercambiabili |

4. Applicazione della catena di classi di ingegneria nell'estrazione del carbone
La catena M630A250 è la spina dorsale di robusti sistemi di trasporto utilizzati in:
- Miniere di carbone sotterranee e a cielo aperto
- Impianti di lavorazione e preparazione del carbone
- Sistemi di trasporto a parete lunga e a nastro ad alta capacità
- Stazioni di trasferimento e nastri trasportatori inclinati per la movimentazione di carbone sfuso
5. Qualità e personalizzazione
SHINING si impegna per la qualità in ogni fase. La catena M630A250 può essere fornita in diverse qualità di materiale, tra cui acciaio al carbonio ad alta resistenza e acciai legati, con profili di trattamento termico personalizzati in base alle specifiche sollecitazioni operative. Offriamo un supporto OEM completo e possiamo personalizzare accessori o finiture speciali su richiesta.

Schema di prova del carico di rottura della catena M630A250
Perché scegliere SHINING?
Non ci limitiamo a vendere catene; forniamo soluzioni ingegnerizzate. Collabora con SHINING per un prodotto che offre una qualità di riferimento a livello globale, supportata da decenni di esperienza in diversi settori e da un impegno per la produttività e la sicurezza della tua attività.
Per disegni dettagliati, certificazioni specifiche dei materiali o un preventivo competitivo, contattate oggi stesso il team di ingegneri di SHINING.