PRODUTOS
Correntes Transportadoras
Organizar
Corrente Transportadora Soldada
Corrente transportadora para serviços pesados
Corrente transportadora métrica
Corrente transportadora de arbusto
Corrente transportadora de raspador
Corrente de elevador de caçamba
Corrente de pino de aço
Corrente transportadora de aço inoxidável
Corrente de combinação de elenco
Corrente Forjada
Corrente de elos soldados
Corrente de pino oco
Corrente Flex Dupla
Corrente transportadora de bloco
Corrente de rolos
Categoria da indústria
Corrente transportadora de usina de açúcar
Cadeia de óleo de palma
Corrente de moinho de aço
Cadeia de máquinas de construção
Corrente transportadora para manuseio de materiais a granel
Cadeia de águas residuais
Corrente transportadora de madeira
Corrente de elevação
Cadeia de Tabaco
Linha de correntes transportadoras para automóveis
Corrente Transportadora Agrícola
Rede de lavagem de carros
Cadeia de Mineração
Cadeia de Engenheiros
Corrente para máquina de vala
Corrente de cimento
Corrente de luva de borracha
Roda dentada
Equipamento Padrão
Eixo de transmissão estriado
Conjunto de corrente transportadora
Componentes mecânicos
Peças de ferro fundido
Permutador de calor
Ventilador de sopro
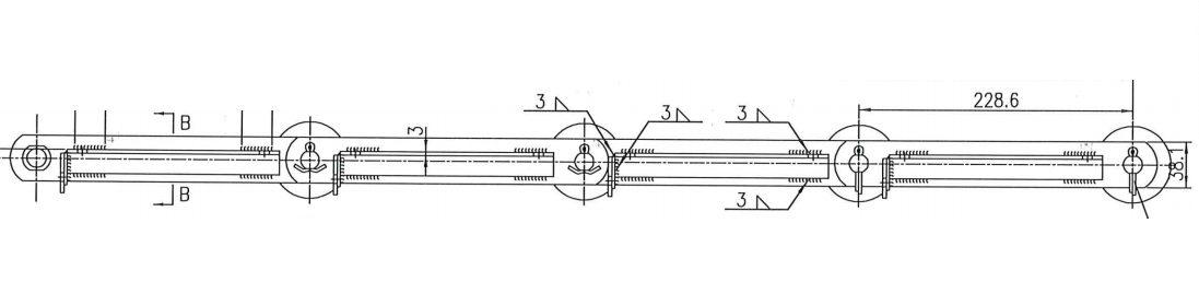
Corrente transportadora de rolos externos P228.6
Corrente transportadora de rolos externos

As correntes transportadoras de estilo de rolo externo são amplamente utilizadas em sistemas de transporte de materiais a granel. A construção de rolo externo torna o transportador altamente compacto e flui as correntes livremente. Normalmente, as correntes serão pareadas à esquerda e à direita, tornando-as ideais para transportadores de bandeja. A SHINING está comprometida em fornecer aos clientes compras de produtos em um só lugar. Se você estiver procurando por correntes transportadoras, rodas dentadas, engrenagens, eixos e ripas, não hesite em nos contatar.
| Corrente Nº. | Tom | Altura da placa de corrente | Espessura da placa de corrente | Diâmetro do rolo externo | Altura do rolo | Diâmetro da bucha | Altura da bucha | Diâmetro do pino |
| 13952 | milímetros | milímetros | milímetros | milímetros | milímetros | milímetros | milímetros | milímetros |
| 228,6 | 38.1 | 6.35 | 63,5 | 30 | 34,9 | 31.1 | 15,88 |
Consultar agora
Palavras-chave















